ZC-Ⅱ/Ⅲ型機械回轉反吹扁袋除塵器
- 一、ZC-Ⅱ/Ⅲ型機械回轉反吹扁袋除塵器 構造機理: 1. 在檢查 除塵器 上部清潔室時,應關機,切斷電源、注意安全、并同時有二人操作,防止啟動風機,入孔門被吸閉或旋臂轉動,造成傷亡事...
- 咨詢熱線:13833733360
-
ZC-Ⅱ/Ⅲ型機械回轉反吹扁袋除塵器生產廠家介紹
【ZC-Ⅱ/Ⅲ型機械回轉反吹扁袋除塵器廠家】泊頭市凈化除塵設備廠【20年經驗】,專業做ZC-Ⅱ/Ⅲ型機械回轉反吹扁袋除塵器|價格合理|型號全,質保2年、免費勘測選型設計提供圖紙參數。
ZC-Ⅱ/Ⅲ型機械回轉反吹扁袋除塵器廠家可以根據工況、粉塵顆粒、粉塵濃度、來斷定除塵器的風量、風速、風機功率大小、安裝位置、安裝空間等一系列參數,我們根據以上以上參數來幫你設計、選型、提供結構圖紙、技術參數等,有貴公司審核后我們安排做。
我公司擁有:繪圖部、技術部、研發部、制作部、質檢部、裝配部、安裝部、采購部、銷售部、售后服務部等。
除塵設備制作排序:看圖下料、檢驗下料尺寸、車間焊接、組裝焊接、綜合檢驗、整體完成后試機、噴漆、新產品出爐、發貨、現場安裝、客戶驗收、竣工完成。
擁有設備:除塵骨架拉絲機,骨架焊接機、車床、沖床、剪板機、焊接機、卷管機、等。
擁有:除塵布袋制造車間、除塵骨架制造車間、除塵設備制造車間等。
我們是一條龍制作、銷售、售后服務、質量有保證、中間外協加工少、減少了設備成本、又能控制產品質量、價格合理。
我公司可以提供現場勘測、幫你設計選型、提供結構圖紙、工作原理、技術參數、售前、售后服務貼心。
-
ZC-Ⅱ/Ⅲ型機械回轉反吹扁袋除塵器產品詳情
一、ZC-Ⅱ/Ⅲ型機械回轉反吹扁袋除塵器 構造機理:
1. 在檢查除塵器上部清潔室時,應關機,切斷電源、注意安全、并同時有二人操作,防止啟動風機,入孔門被吸閉或旋臂轉動,造成傷亡事故。
2. 應經常注意排風管中有否粉塵排出,如發現有冒灰現象,應及時清查原因,進行排除。
3. 在室外工作的除塵器,應定期進行拷鏟油漆、防止銹蝕。
4. 定期停車檢查各濾袋,發現濾袋有破損應及時調換濾袋。
5. 反吹風自控系統應定期檢查,防止故障。
6. 灰斗的積灰應定期清理,不得過多。
7. 應定期檢查反吹風旋臂是否正常旋轉。
8. 各傳動部件均應定期注油。
二、ZC-Ⅱ/Ⅲ型機械回轉反吹扁袋除塵器維 護 檢 修:
1. 安裝完畢后,各傳動部分均應加注潤滑油,然后試轉一下檢查減速器是否反轉,如反轉,應立即重新接線,以免損壞機件,確實無誤再正式啟動。
2. 頂蓋合上后,應先試其旋轉是否靈活,頂蓋與清潔室外圈結合處應用橡膠密封,保證頂蓋下合時的密封性。
3. 濾袋框架外面套上濾袋(絨毛朝里),袋口與導口用壓條栓緊,防止漏氣,然后小心插入花板中(注意不使濾袋劃破或劃傷),尾端錐肖插入下托架相應的定位圈中,上部導口框下面放上橡膠圈后用壓板斜肖壓緊。
4. 反吹風旋臂傳動機構安裝時要注意上下垂直,旋臂回轉平面與框架導口上平面平行且保持2—4mm距離。轉動要靈活,風口翻轉裝置與撞頭位置恰當,翻動正確靈活。
5. 花板的梯形孔應與下托架上的相應定位圈垂直,防止放入濾袋框架后上口歪斜漏氣。
6. 花板與托架,托架與擱圈之間應嵌入密封填料,然后緊固及調整螺栓,使花板平面與轉臂反吹風口平 行且保證62mm距離。
7. 各入孔門、防爆門、觀察孔等處,均應有橡膠條,以保證其密封性。

8. 灰斗過濾室筒體,清潔室等各法蘭之間應嵌入密封填料才能擰緊螺栓,防止漏氣。
三、ZC-Ⅱ/Ⅲ型機械回轉反吹扁袋除塵器設備安裝、試車:
十二種規格的主要參數詳見附表1,其主要尺寸詳見附表2。
過濾面積: 40—1150平方米共十二種。
袋長: 2.0—6.0共五種
袋數: 24—240袋共四種,按24為模數確定各圈袋數。
圈數: 1—4圈
本系列擬定十二種規格
系列化規格說明
第一項:570為公稱過濾面積(米2)。
第二項:根據出風口接管形式,分為平出口與下出口兩種,P表示平出口、X表示下出口。
第三項:根據入口的氣流旋轉方向,分為S、N兩種。S表示入口順時針旋轉,N表示入口逆時針旋轉。
第四項:根據過濾風速V的不同,分為A、B兩檔。A表示低檔負荷,B表示高檔負荷。
第五項:5是指袋長(米)
第六項:Ⅱ— 是指設計序號。
第七項:ZC是指回轉反吹的“轉” “吹”漢語拼音字頭。
第八項:144為濾袋數量(只)
型號表示方式:列144ZC—Ⅱ—5—BNP570回轉反吹扁袋除塵器。
四、ZC-Ⅱ/Ⅲ型機械回轉反吹扁袋除塵器型號表示方式系列:
對于間斷工作的使用場合也可采用U型壓力計0—300毫米指示,手動控制反吹風工作或采用定時控制方式。
自控裝置為“ZC—DKB”型電控屏,詳見專門說明書。
取壓裝置 ——差壓變速器——電控裝置—— 旋臂轉動機構 XLED(BLED)型減速器
采用定阻力控制方式,以除塵器阻力作為訊號控制反吹風機構自動啟閉工作。取壓管設在除塵器進氣口及出氣口上。
1 反吹風自控方案:
灰斗下口采用星形閥,對布置一、二圈濾袋的除塵器配用Φ300YJD—B型卸料裝置。對布置三、四圈濾袋的除塵器配用Φ400YJD—B型卸料裝置。
2 卸灰裝置:
旋臂回轉速度應嚴格按表中參數選定。推薦選用XLED型或BLED型行星擺線針輪減速器。亦可根據當地產品供應情況,在滿足要求的輸出軸轉速和扭矩的前提下,配用其它減速裝置。
3 旋臂傳動機構:
反吹風機實際運行參數與過濾工況參數密切相關,在運行調試時,應調節反吹風管路閥門,使反吹風動力能夠吹落濾袋上的積塵,又不至于太強,以免影響濾袋壽命。
從運行可靠性出發,推薦循環反吹風方式,據此選定反吹風機如附表1所列。在反吹風機入口管路上安裝按暖通國際T305圖制作的密閉式斜插板閥,若采用大氣反吹風方式,則所選反吹風機稍有富裕,此時應在其入口安裝DDZ —Ⅰ型電動調節閥門,與反吹風機聯鎖,克服漏風因素。
若采用循環風反吹,即反吹風機吸入口與清潔室相通,此時反吹風系統自成回路,清除了漏風因素和結露危險,但不能利用清潔室負壓,所選用風機風壓即為反吹風實際需用壓頭。
若采用大氣風反吹,即反吹風機吸入口與大氣相通。此時清潔室負壓亦為反吹風作用壓頭,但反吹風量成為系統的一種漏風因素,減少有效吸塵風量,且在高溫工況下易產生結露現象。
反吹風機參數與反吹風管路接法有關。
4反吹風機:
五、ZC-Ⅱ/Ⅲ型機械回轉反吹扁袋除塵器配套件選用說明:
當使用在易爆氣體場合,在除塵器中箱體及頂蓋應設翻板式防爆門,頂蓋與清潔室間必須增設斜銷式緊固件,選用時應予以說明。
1.防爆措施:
正常使用壽命不小于1年。
2.濾袋壽命:
濾袋材料采用“208”工業滌綸絨布。根據其熱力性能(耐溫150℃)設計選用時,建議對穩定高溫煙氣入口溫度不超過120℃、對不穩定偶爾出現(時間一般不超過5分鐘)的高溫煙氣;在濾袋沾灰條件下、入口溫度允許放寬至150℃。
3.入口溫度:
對煤粉塵及電爐高溫(冷卻到120℃)超細金屬氧化物粉塵,排放濃度遠低于國家排放標準,因此本除塵器完全能勝任超細粉塵的凈化要求。
生產性實測數據
4.過濾效率:
對高檔運行工況,選用工作阻力110—160毫米水柱。
對低檔運行工況,選用工作阻力80—130毫米水柱。
常溫工況空載運行阻力為30—40毫米水柱,負載運行阻力控制范圍應與所選用的過濾風速相適應。
5.工作阻力:
對于過濾常溫(t≤80℃),濃度低,顆粒粗的含塵氣體,建議按高檔負荷運行,采用過濾風速V=2.0—2.5米/分,選用B型規格。
對于過濾溫度高(80
6.過濾風速的選定:
V 過濾風速(米/分)
公式中:L 通過除塵器的過濾風量(立方米/小時)
F=L/60V(平方米)
7.回轉反吹扁袋除塵器所需過濾面積按下列公式計算:
六、ZC-Ⅱ/Ⅲ型機械回轉反吹扁袋除塵器性能及選用說明:
1.除嚴寒地區外,本除塵器可室外露天設置,不用建造除塵器間。
2.本設備經幾次設計后,入口濃度不必限制在15克/m3。即使150克/m3也不必增加旋風除塵器。本設備具有旋風除塵器的功能,但是不存在旋風除塵器的阻力。雖然本設備增加成本費用,售價不會提高。
3.本設備上蓋分為多塊,可隨意打開,換袋、維護非常方便。
4.用除塵器的阻力作為信號,可自動控制回轉反吹清灰,視入口濃度高低,自動調整清灰周期。
5.采用梯型扁袋在圓筒體內布置,結構簡單緊湊,過濾面積指標高。在反吹風作用下,梯形扁袋振幅大,只需一次振擊,即可抖落積塵、有利于提高濾袋壽命。
6.采用了設備配套的高壓風機反吹清灰,不受使用場合氣源條件的限制,易損件少,維護簡便、運行可靠、克服了壓縮空氣脈沖清灰的弊病、反吹風作用距離大、可采用長濾袋、充分利用空間、占地面積小。
7.殼體按旋風除塵器蝸殼型進口設計,能起局部旋風作用,減輕濾袋負荷。圓筒拱頂的體形,受力均勻、抗爆性能好。
回轉反吹扁布袋除塵器與國內常用的脈沖布袋除塵器相比具有以下特點:
七、ZC-Ⅱ/Ⅲ型機械回轉反吹扁袋除塵器主要特點:
再生工況—隨著過濾工況的進行,阻留粉塵逐漸增厚因而濾袋阻力逐漸增加。當達到反吹風控制阻力上限時,根據需要可以手動開啟反吹風機,也可由差壓變送器發出訊號自動啟動反吹風機及反吹風旋臂傳動機構進行反吹。自控裝置我們也可以配套提供。具有足夠動量的反吹風氣流由旋臂噴口吹入濾袋導口,阻擋過濾氣流并改變袋內壓力工況,引起濾袋實質性振擊,抖落積塵。旋臂分圈逐個反吹。當濾袋阻力降到下限時,反吹風機構手動關閉或自動停止工作,為節約反吹風機動力,減少反吹風量對于三、四圈(即144ZC—Ⅱ 20ZC—型)布袋除塵器設有分圈反吹機構使每次只反吹一個濾袋。
過濾工況—含塵氣流由切向進入過濾室上部空間,由于入口為蝸殼型。大顆粒及凝聚塵粒在離心力作用下沿筒壁旋落灰斗。小顆粒塵彌散于過濾室袋間空隙從而被濾袋阻留。粘附在濾袋外層,凈化空氣透過濾壁經花板上濾袋導口匯集于清潔室,由通風機吸出而排放于大氣中。
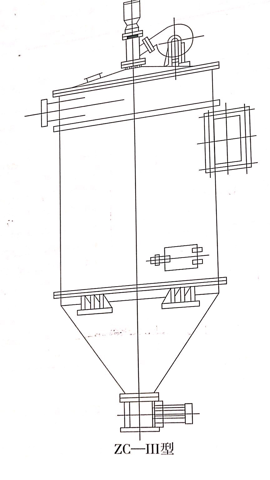
ZC-Ⅱ/Ⅲ型機械回轉反吹扁袋除塵器工作原理:
星形卸灰閥、減速裝置和電機、反吹風機、旋臂減速機構及循環風管路等均為配套件。根據用戶要求可以代配,平臺、梯子在系列化的總裝圖中未予示出,它們和反吹風機基礎及循環風管路應視現場具體情況進行設計和安裝。
反吹風旋臂由置于頂蓋上的減速器驅動,反吹風機落地安裝,通過中心管與旋臂連接對于三、四圈布置的濾袋,旋臂設分圈反吹裝置。
1.反吹風清灰機構:包括旋臂、噴口、分圈反吹機構、循環風管、反吹風管、反吹風機、旋臂減速機構。
2.下箱體:包括定位支承架、灰斗、星形卸灰閥、支座。
3.中箱體:包括花板、濾袋、濾袋框架、濾袋導口、過濾室筒體、進氣口、入孔門。
4.上箱體:包括除塵器蓋,旋轉揭蓋裝置、清潔室、換袋入孔、觀察孔、出氣口。
-
ZC-Ⅱ/Ⅲ型機械回轉反吹扁袋除塵器價格行情
【ZC-Ⅱ/Ⅲ型機械回轉反吹扁袋除塵器價格】根據工況、粉塵顆粒、粉塵濃度、來斷定除塵器的風量、風速、風機功率大小、安裝位置、安裝空間等一系列參數。選用規格型號、過濾面積、過濾風速、除塵器配置等影響本除塵器價格。可以快速準確快速報價、報裸價、含稅含運費價格、價格合理、出廠價、批發價。
我們能提供化ZC-Ⅱ/Ⅲ型機械回轉反吹扁袋除塵器價格實時報價,根據現場的詳細參數免費提供方案與成本價格,執行批發價格。同等質量的ZC-Ⅱ/Ⅲ型機械回轉反吹扁袋除塵設備,我們能做到批發價格銷售發貨。
-
ZC-Ⅱ/Ⅲ型機械回轉反吹扁袋除塵器結構圖紙
ZC-Ⅱ/Ⅲ型機械回轉反吹扁袋除塵器結構圖紙免費提供,下面展示的是常見、常用的ZC-Ⅱ/Ⅲ型機械回轉反吹扁袋除塵器結構圖紙,其它分多個型號規格,是由于網頁空間條件限制不能全部展示,大多數結構圖紙是根據現場的需要專門量身訂做的,上門測量是實地勘測的,提供貼切的結構圖紙。








